| 多级降压套筒式调节阀
针对超(超)临界火电机组疏水系统中存在的套筒式多级降压调节阀高温水高压降空化引起汽蚀破坏的问题,基于汽液传递理论与多级降压理论,引入Z-G-B空化模型与混合两相流模型,建立阀内流场高温水空化计算模型。研究了套筒层数与级间间隙对空化流动的影响,获得了不同套筒模型条件下的阀内流场压力、速度及汽液两相体积分布等流场信息。分析结果表明:多级套筒使阀内最低压力由1.5MPa上升至4.0MPa,空化最大气体体积分数由0.99降低至0.18。增加套筒级数可有效实现逐级降压、限制流速的目的,还可抑制空化的发生及发展,同时增加级间间隙也有利于减轻空化。(更多产品详见zczkvalve.com、0577-67980928) 超(超)临界电站运行中,主蒸汽、二级过热等处疏水管网中的调节阀存在着严重的高温水空化汽蚀破坏、强振动及高噪声等危害,导致阀门寿命缩短。有的仅一月就由于内漏严重而不得不更换,严重影响着系统的安全稳定运行与节能水平。为了抑制高压差下阀内空化汽蚀,国际上超(超)临界疏水调节阀多采用套筒式多级降压阀芯结构,但由于国内外缺乏对其工作过程的定量基础理论研究,因此无法解决现实中普遍存在的高温高压降严重空化、汽蚀破坏造成的寿命短等问题.现有空化流动的研究多集中于泵等水力机械,对离心泵与轴流泵内部空化特性、孔板节流及翼型空化进行了数值模拟研究。在多级降压类阀门抑制空化方面研究较少,研究了套筒式与迷宫式多级降压调节阀内部流动特性。就现有文献来看,目前在高参数多级降压调节类阀门领域,只限于原理介绍与定性验证分析,理论研究极少。尤其国内研究起步较晚,长期采用测绘仿制进口产品的落后方法,而没有成熟设计方法标准可循。导致我国火电90%高端阀门长期依赖进口,耗费大量资金,因此对超(超)临界套筒式多级降压调节阀展开深入研究具有十分重要的意义。(更多产品详见zczkvalve.com、0577-67980928) 这里针对超(超)临界多级降压套筒式调节阀的空化问题,基于汽液传递理论与多级降压理论,引入Z-G-B空化模型与混合两相流模型,建立一定过冷度凝结水排放条件下的多级降压套筒参数模型与高温水空化计算模型,研究套筒降压级数与级间间隙对空化抑制的作用与影响规律。(更多产品详见zczkvalve.com、0577-67980928)
套筒降压级数计算(更多产品详见zczkvalve.com、0577-67980928)
套筒降压级数直接影响到调节阀能否满足降压限速及抑制空化要求。如图1所示,阀前后压差过高导致压力突变,局部压力低于介质饱和蒸汽压pv是闪蒸空化发生的主要诱因。根据多级降压原理,通过多次节流把一次高压降分解成多个小压降,将压力突变转化为压力渐变,使得多级降压节流过程中各处压力均高于pv,避免出现闪蒸与空化现象。 (更多产品详见zczkvalve.com、0577-67980928)
闪蒸和空化出现的先决条件是阻塞流的产生。产生阻塞流时的压差称为阻塞流压差Δp′。当Δp≤Δp′时,即可避免阻塞流及闪蒸空化的产生。多级降压时每一级降压的实际压差Δp均应小于阻塞流压差Δp′。以此作为初始判据,判断降压级数。 阻塞流压差 式中:p1为入口压力;FL为压力恢复系数;FF为临界压力比系数,且FF=0.96-0.28其中pC为热力学临界压力。根据多级降压原理,每一级压降按几何级数递减,即 式中n为理论降压级数. 图2中i为降压级数的序数(i=1,2,…,n),根据所示套筒降压级数确定流程,计算出当套筒级数为3级时每级分压降可满足Δpi<Δp′,理论上可避免阻塞流及空化现象的发生,故选定套筒降压级数为3级,如图3所示。
|
|
|
图2 套筒级数确定流程 |
|
|
|
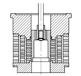
图3 套筒式多级降压阀芯结构 |
2 数值计算模型建立
2.1 几何模型与网格划分
利用SolidWorks三维建模软件,选取最易出现严重空化的20%开度,建立了无套筒及套筒层数分别为一、二、三层的流道模型。图4为无套筒疏水阀模型图。网格由ICEM-CFD软件划分生成,采用四面体/混合网格的网格划分方式生成流动区域贴体网格。为了计算结果更加精确,对套筒内部网格进行了局部加密处理。这里选定的无套筒模型网格数为1.49×105,质量流量为24.8kg/s。
2.2 控制方程组
采用计算流体力学软件Fluent,以连续性方程、动量方程、基于各向同性涡黏性理论的k-ε双方程及混合两相流空泡动力学方程组成数值模拟的控制方程组,以有限体积法将方程组离散至一系列网格点上,求解流场内离散数值解。 空化模型采用Zwart-Gerber-Belamri模型,考虑空泡密度计算单位体积总相间质量传输率,计算方法如下。
| 当p≤pv时, |
 |
| 当p>pv时, |
 |
式中:p为空泡附近液体压力;Re为空泡生成率;Rc为空泡凝结率;Fvap为蒸发系数;αnuc为空化成核处体积分数;αv为汽相体积分数;ρv为汽相密度;ρl为液体密度;Fcond为凝结系数;DB为空泡的直径. 3 数值计算结果与分析 3.1 套筒降压级数影响分析 对无套筒疏水阀模型及不同套筒层数模型内部空化流动进行数值模拟,介质参数及边界条件为:200℃高温水;入口压力p1为22MPa、出口压力p2为6MPa;饱和蒸汽压pv为1.5MPa。计算结果如图5所示。
 |
|
图5 气体体积分数分布图 | 图5(a)为无套筒模型气体体积分数分布云图,阀座边缘与底部流道近上壁面结构突变处引起流体局部压力低于饱和蒸汽压的低压区出现大范围的完全空化区域,最大气体体积分数达到0.993。大量空泡破裂会产生极高的局部表面应力反复作用在壁面上,导致材料疲劳失效并分离脱落。图5(b)和(c)分别为单层套筒和双层套筒模型气体体积分数分布云图,只有阀底部流道转角处小部分区域出现空化,最大气体体积分数分别下降至0.883与0.821。说明节流套筒抑制空化的作用十分明显,双层套筒防空化效果略优于单层套筒。图5(d)为三层套筒模型气体体积分数分布云图,对称面上几乎没有发生空化,最大气体体积分数下降至0.183,流场可近似为单相流动状态.说明在此工况下,根据理论计算设计的三层套筒可以满足防空化要求,套筒降压级数计算方法可以作为初步设计的理论依据。 为了更深入地对比分析不同套筒层数对空化流动的影响,在不同流道模型由入口至出口沿流动方向壁面上相同位置在x方向上每隔20mm选取1个监测点,共20个。分别读取各点上压力、速度及气体体积分数的数值,绘制不同模型下检测点处液体平均压力速度υ、气体体积分数α的曲线图,如图6所示。
 |
|
图6 不同级数模型参数曲线图 |
图6(a)为不同模型压力曲线图,可见流体压力从8号监测点至12号监测点范围内均呈骤降趋势,从12号监测点至出口有所回升。其中无套筒模型压力曲线下降速率最快,单层与双层套筒模型分别次之,三层套筒模型最为平缓。无套筒模型在14号监测点出现最低压力1.5MPa,已降至饱和蒸汽压;单层与双层套筒模型最低压力均为3.0MPa,分别在13号和12号监测点出现;三层套筒模型在16号监测点出现最低压力4.0MPa。说明增加套筒层数有助于实现逐级降压,防止压力突变导致局部压力低于饱和蒸汽压,从而有效抑制空化的发生。
图6(b)为不同模型速度曲线图,可见无套筒模型速度曲线位于最上,单层、双层与三层套筒模型曲线依次位于下方,并且呈现出趋于平缓的特征。无套筒模型在13号监测点出现最高速度156m/s;单层与双层套筒模型在9号和8号监测点出现最高速度,分别为140和135m/s;三层套筒模型在8号监测点出现最高速度117m/s。说明套筒层数增加有利于限制流速,使流速平缓上升,并使最高流速出现位置提前至套筒内,减轻对阀体的冲蚀破坏。
图6(c)为不同模型气体体积分数曲线图,可见无套筒模型空化范围从8号持续到18号监测点,在14号监测点出现最大气体体积分数0.975;单层套筒与双层套筒模型空化范围大幅缩小,均从9号持续到13号监测点,与11号监测点出现最大气体体积分数相同,分别为0.823与0.750;三层套筒模型空化范围从9号持续到12号监测点,在11号监测点出现最大气体体积分数0.183。说明增加套筒级数能有效抑制壁面上的空化现象,并使空化相对严重的位置转移至套筒处,避免对接近出口段阀体产生汽蚀损坏。
3.2 级间间隙影响分析 为了研究套筒级间间隙的大小对疏水阀内部空化流动的影响,以相同参数与边界条件计算了五种不同间隙模型的空化流动。读取最大流速及气体体积分数绘制曲线图,如图7所示。
 |
|
图7 不同间隙模型速度与气体体积分数曲线图 |
由图7可见:随着级间间隙c从3mm增大至5mm,局部最大流速υmax从117m/s持续降低至105m/s,最大气体体积分数αmax从0.183则降低至0.106;级间间隙由3mm增加到4.5mm的过程中,最大气体体积分数与最大流速均近似呈现线性下降趋势。说明在结构尺寸允许的条件下,适当增加级间间隙,使级间压降与流速缓冲区域增加,有利于降低阀内流速与空化抑制。
4 结论
a.阀内空化主要集中在阀座与阀底部流道转角位置,模拟结果与同类调节阀实际汽蚀破坏区域基本一致。流道结构突变引起的压力骤降是阀内产生剧烈空化现象的主要原因。
b.通过理论与数值计算设计的多级降压套筒达到了逐级降压、限制流速的目的,基本能够满足防空化的要求,并使空化相对严重的位置转移至套筒处,避免对出口段阀体产生汽蚀损坏。
c.增加套筒层数有利于阀内流体压力与速度变化趋于平缓,使空化的发生与发展得到有效抑制。 d.在结构尺寸允许的条件下,增加套筒级间间隙有利于级间压力缓冲、流速逐渐降低及空化的抑制。 |